
我公司生產的杜甫牌830T液壓磚機是采用液壓傳動的全自動液壓磚機,那么在該液壓磚機的液壓系統中,濾油器的是一個什么樣的存在?濾油器有哪些分類,如何選用和安裝呢?下面我們先來介紹一下濾油器。
液壓磚機的液壓系統中,濾油器是用來濾除混在液壓油中的各種雜質的,它可以使進入系統的油液保持一定的清潔度,從而保證液壓元件和系統可靠地工作。
首先,我們來說一說濾油器的分類:
濾油器按其過濾精度(濾過雜南的顆粒大小)的不同,有普通過濾器、精過濾器、精密過濾器和特精過濾器四種,它們分別能濾去大于100μm、10~100μm、5~10μm和1~15μm大小的雜質。按濾油器濾芯的結構不同,可分為以下幾種類型。
(一)網式濾油器
網式濾油器以銅網為過濾材料,過濾精度取決于銅網層數和網孔大小,這種濾油器結構簡單,通流能力大,壓力損失不超過0.004MPa,清洗方便,但過濾精度低。在壓力管路上采用100、150、200目(每英寸長度上孔數)銅絲網,在液壓泵吸油管路上采用20~40目銅絲網。
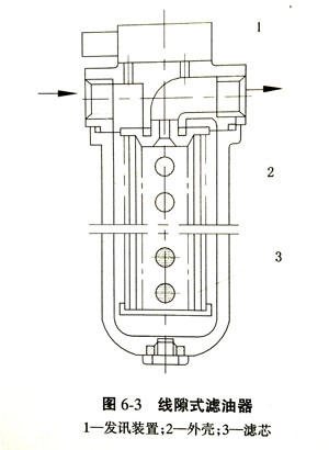
(二)線隙式濾油器
線隙式濾油器其濾芯由直徑為0.4mm的銅絲繞成,依靠銅絲間的微小間隙濾除混入液體中的雜質。這種濾油器結構簡單,通流能力大,過濾精度比網式濾油器高,但濾芯材料強度低,不易清洗,它常用于低壓管道中。當用在液壓泵吸油管上時,它的流量規格宜選得比泵大。
(三)紙質濾油器
紙質濾油器其濾芯為平紋或波紋的酚醛樹脂或木漿微孔濾紙制成的紙芯,將紙芯圍繞在帶孔的鍍錫鐵做成的骨架上,以增大強度。為增加過濾面積,紙芯一般做成折疊形。其過濾精度較高,一般用于油液的精過濾,但堵塞后無法清洗,須經常更換濾芯。
(四)燒結式濾油器
燒結式濾芯用金屬粉末燒結而成,利用顆粒間的微孔來擋住油液中的雜質通過。改變金屬粉末的顆粒大小,就可以制出不同的過濾精度的濾芯,這種濾芯能承受高壓,過濾精度高,抗腐蝕性好,適用于要求精濾的高壓、高溫液壓系統。燒結式濾芯的金屬顆粒易脫落,堵塞后不易清洗。
(五)磁性濾油器
磁性濾油器其濾芯由永久磁鐵制成,罩子外面為鐵環,能吸住油液中的鐵屑、鐵粉或帶磁性的磨料,常與其他型式濾芯合起來制成復合式濾油器。磁性濾油器對加工鋼鐵件的機床液壓系統特別適用。
其次,我們來說一說濾油器的選用:
選用濾油器要考慮以下幾點:
1、過濾精度應滿足預定要求。
2、能在較長時間內保持足夠的通流能力。
3、濾芯具有足夠的強度,不因液壓力的作用而損壞。
4、濾芯抗腐蝕性能好,能在規定的溫度下持久地工作。
5、濾芯清洗或更換簡便。
因此,濾油器應根據液壓系統的技術要求,按過濾精度、通流能力、工作壓力、油液黏度、工作條件等來選定其型號。
最后,我們來說一說濾油器的安裝:
濾油器在液壓系統中的安裝位置有以下幾種情況:
1、安裝在油泵的吸油管路上。這種安裝方式能有效地保護整個系統,以阻擋油液中較大的雜質。由于油泵的吸油口不允許有較大的阻力,故一般只能安裝粗濾油器(如上圖a)。當要求安裝過濾精度較高的濾油器時,可將兩三個濾油器并聯在一起使用(如上圖b),以增大過濾面積。
2、安裝在液壓泵的出油管路上。這種安裝方式可以保護除液壓泵以外的其他各個液壓元件。但要注意濾油器應安裝在泵到安全溢流閥的分支油路之后或將一溢流閥與其并聯使用(如上圖c所示),以免濾油器堵塞時引起系統壓力過高或泵過載。這種安裝方式使濾油器處在工作壓力下,所示要求濾油器有足夠的強度和剛度。
3、安裝在主回油路上(如上圖d)。當濾油器不宜在高壓下工作或管路上不宜有過大的阻力時,可采用此種安裝方式。它可以不考慮濾油器的壓力損失,但不能直接防止雜質進入系統中的各個液壓元件,而只能循環地除去油液中的雜質,間接地保護各個液壓元件。
4、安裝在重要元件的前面。在重要元件(如液壓伺服閥、微量流量閥等)的前面,有必要時可以單獨安裝精濾油器,以保護這些元件的正常工作。